Get the job done with the right equipment
Hydraulink provides a ‘matched system’ of hose and fittings, ensuring our products are engineered to work together to exceed international SAE and ISO standards and deliver outstanding application and safety performance. Our matched system provides optimal function, minimises risk and guarantees hose performance and safety for ultimate peace of mind when using Hydraulink as your supplier.
Hydraulink’s quality product is available in a complete range of braided and multispiral hydraulic hoses - for low to ultra high pressure applications. Our hose range includes speciality products for high abrasion, tight bend radius and high temperature applications.
The other integral part of the guaranteed matched system is Hydraulink’s fittings range which are manufactured to SAE and ISO standards - using premium steel stock sourced from European steel mills. Our comprehensive range of fittings is industry leading with over 5,000 product lines.
To compliment our product range, we also offer an assortment of accessories including Adaptors, Quick Release Couplers, Tube Clamps, Ball Valves, Assembly Equipment and Premium Hydraulic Oils.
- Product Catalogue
- Safety Data Sheets
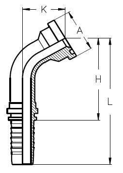
SAE FLANGES
SAE C61 60° ELBOW
SAE FLANGES
SAE C61 60° ELBOW

Product Data
S66-1212
Nominal SAE Flange size (A)
3/4
Hose I.D (Inches)
3/4
Hose I.D (mm)
19
Dash size
12
Flange O.D mm (A)
38.1
Drop mm (K)
34
Cutoff mm (H)
73
Length mm (L)
113
Working Pressure (bar)
350
Working Pressure (psi)
5000
S66-1612
Nominal SAE Flange size (A)
1
Hose I.D (Inches)
3/4
Hose I.D (mm)
19
Dash size
12
Flange O.D mm (A)
44.5
Drop mm (K)
36
Cutoff mm (H)
74
Length mm (L)
114
Working Pressure (bar)
350
Working Pressure (psi)
5000
S66-1616
Nominal SAE Flange size (A)
1
Hose I.D (Inches)
1
Hose I.D (mm)
25
Dash size
16
Flange O.D mm (A)
44.5
Drop mm (K)
40
Cutoff mm (H)
98
Length mm (L)
154
Working Pressure (bar)
350
Working Pressure (psi)
5000
S66-2016
Nominal SAE Flange size (A)
1 1/4
Hose I.D (Inches)
1
Hose I.D (mm)
25
Dash size
16
Flange O.D mm (A)
50.8
Drop mm (K)
40
Cutoff mm (H)
98
Length mm (L)
154
Working Pressure (bar)
280
Working Pressure (psi)
4000
S66-2020
Nominal SAE Flange size (A)
1 1/4
Hose I.D (Inches)
1 1/4
Hose I.D (mm)
31.5
Dash size
20
Flange O.D mm (A)
50.8
Drop mm (K)
45
Cutoff mm (H)
118
Length mm (L)
184
Working Pressure (bar)
280
Working Pressure (psi)
4000
S66-2420
Nominal SAE Flange size (A)
1 1/2
Hose I.D (Inches)
1 1/4
Hose I.D (mm)
31.5
Dash size
20
Flange O.D mm (A)
60.4
Drop mm (K)
45
Cutoff mm (H)
118
Length mm (L)
184
Working Pressure (bar)
210
Working Pressure (psi)
3000
S66-2424
Nominal SAE Flange size (A)
1 1/2
Hose I.D (Inches)
1 1/2
Hose I.D (mm)
38
Dash size
24
Flange O.D mm (A)
60.4
Drop mm (K)
52
Cutoff mm (H)
140
Length mm (L)
223
Working Pressure (bar)
210
Working Pressure (psi)
3000
S66-3232
Nominal SAE Flange size (A)
2
Hose I.D (Inches)
2
Hose I.D (mm)
51
Dash size
32
Flange O.D mm (A)
71.4
Drop mm (K)
73
Cutoff mm (H)
192
Length mm (L)
289
Working Pressure (bar)
210
Working Pressure (psi)
3000
INTRODUCING NEW ENDURO SPIRAL HOSE
ENDURO spiral is an extremely flexible slim profile hose featuring our very high wear and abrasion resistant SuperTuff (ST) MSHA cover for increased protection against abrasion in severe operating environments.